葵花藥業藥品再曝質量問題 此前16批次藥品曾抽檢不合格
6月20日,國家藥監局發布通告,15批次藥品不符合規定。其中,葵花藥業藥品又在列。值得注意的是,國家藥監局數據庫顯示,此前,標示葵花藥業生產的16批次藥品曾抽檢不合格,涉及炎立消膠囊、氨咖黃敏膠囊、小兒化痰止咳顆粒、復方對乙酰氨基酚片等常用品種。
根據國家藥監局6月20日通告,經重慶市食品藥品檢驗檢測研究院檢驗,標示為葵花藥業集團湖北武當有限公司委托葵花藥業集團(襄陽)隆中有限公司生產的1批次杏蘇止咳糖漿不符合規定,不符合規定項目為pH值。

據了解,pH值是氫離子濃度指數,作為酸堿程度的衡量指標。pH值不合格,藥品安全性和療效是否會受影響?患者服用后,又會面臨怎樣的隱患?此外,已售不合格藥品都流向了哪里?召回進展又如何?對此,中國經濟網記者6月21日上午就此致電葵花藥業,對方向記者表示,可14:30后再次致電,屆時公司證代回復記者。然而,14:30后記者多次致電葵花藥業,其電話始終處于無人接聽狀態。
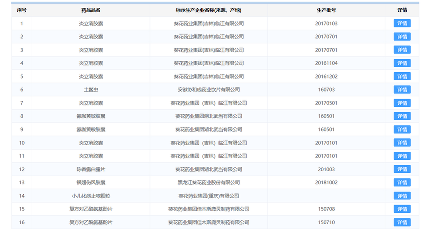
事實上,近年來,在藥品質量問題上,葵花藥業曾多次被曝光。中國經濟網記者在國家藥監局數據庫檢索“葵花藥業”發現,其旗下有16批次不合格藥品在列,涉及炎立消膠囊、土鱉蟲、氨咖黃敏膠囊、陳香露白露片、銀翹傷風膠囊、小兒化痰止咳顆粒、復方對乙酰氨基酚片7個品種。

值得注意的是,上述16批次不合格藥品中,此次涉事企業葵花藥業集團湖北武當有限公司共涉及3批次藥品。根據葵花藥業《2022年年度報告》,葵花藥業集團湖北武當有限公司為葵花藥業集團(襄陽)隆中有限公司全資子公司,而葵花藥業集團(襄陽)隆中有限公司又系葵花藥業控股子公司,此兩家下屬企業于2022年被認定為高新技術企業,2022年-2024年享受15%企業所得稅優惠稅率。
(記者 郭文培)
版權聲明:凡注明“來源:中國西藏網”或“中國西藏網文”的所有作品,版權歸高原(北京)文化傳播有限公司。任何媒體轉載、摘編、引用,須注明來源中國西藏網和署著作者名,否則將追究相關法律責任。

中國西藏網微博
中國西藏網微信






